Home Up US 4,738,324 US 4,828,057 US 4,862,978 US 4,862,979 US 4,869,331 US 4,874,051 US 5,150,759 US 5,167,290 US 5,183,124 Tm 1,669,277 Tm 1,699,984 EP 555,404<% =Searchbox %>

United States Patent 4,874,051
Borchard Oct. 17, 1989

Leaf spring

Inventors: Borchard; John S. (97-A Lowell Ave., Newton, MA 02160).
Appl. No.: 309,184
Filed: Feb. 13, 1989
Intl. Cl.: G01G 3/08; F16F 1/18; F16F 1/20;
U.S. Cl.: 177/229.; 267/47.;
Field of Search: 158-160;260;47

References Cited

U.S. Patent Documents

302,392 Jul., 1884 Gay 267/260
1,050,508 Jan., 1913 Ahrweiler
2,490,320 Dec., 1949 Pashby

Primary Examiner: Miller, Jr.; George H.

Abstract

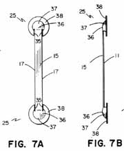
A leaf spring made of a flat, thin, metallic strip comprised of an elongated flexible member with two parallel sides terminating at either end into flat rectangular, cross-like or circular shapes with a width approximately twice the width of the strip at its midpoint. The ends are crimped or cold pressed downward and then outward near their edges to form flanges. The crimped or pressed ends become each foot of the leaf spring.

7 Claims, 26 Drawing Figures

        

 

- Dendritics Main Page